De acordo com uma patente registrada no Japão, pode ser que o próximo console da Sony (supostamente o PlayStation 5) tenha retrocompatibilidade. Aliás, o documento da informação tem registro da Sony Interactive Entertainment e a assinatura de Mark Cerny, um dos designers do PlayStation 4.
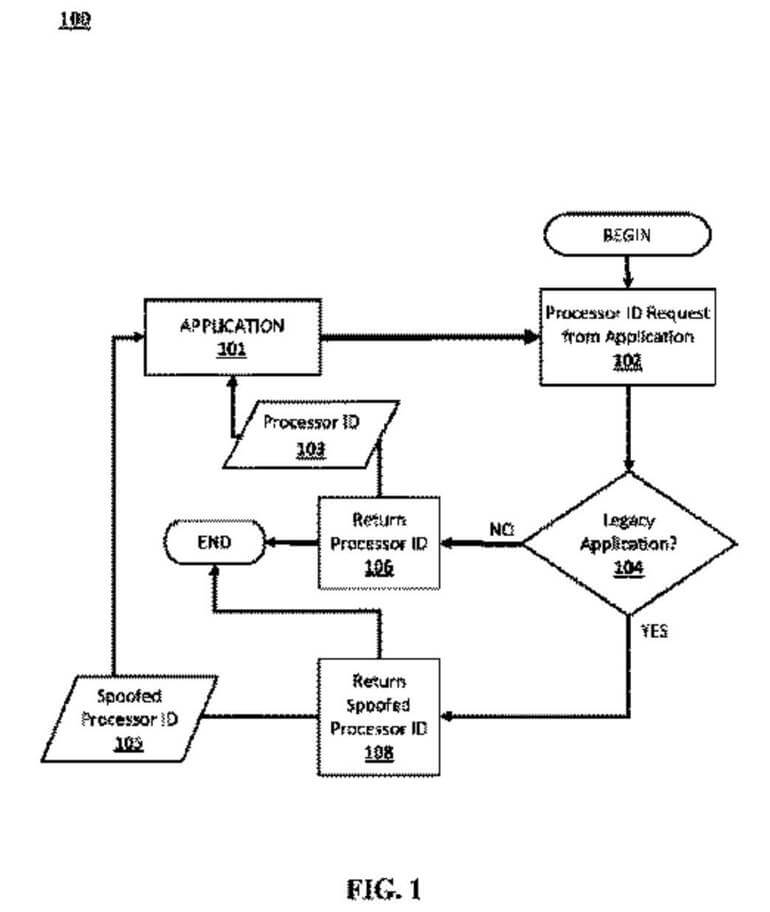
Além disso, a patente revela que o console teria a capacidade de reconhecer uma aplicação de “legado“. Sendo assim, ele reconheceria aparelho(s) anterior(es) da Sony. Após o reconhecimento, o próprio sistema criaria uma CPU ID que emularia o ambiente do console original. Entretanto, estas são as únicas informações sobre a retrocompatibilidade.

































